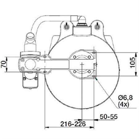
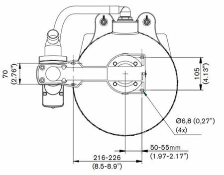
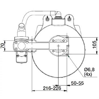
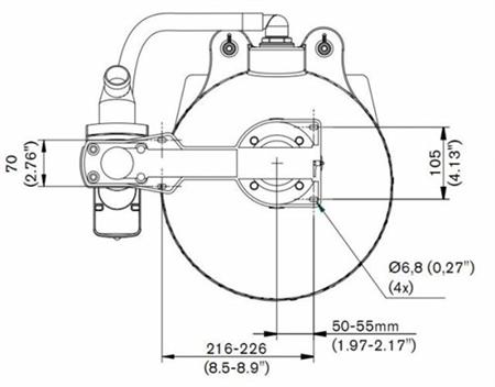
5020121
₺14.602,17 KDV Dahil
1
cultureSettings.RegionId: 0 cultureSettings.LanguageCode: TR